ЭМЗ 41 NDF 412 (100% 12 VDC)
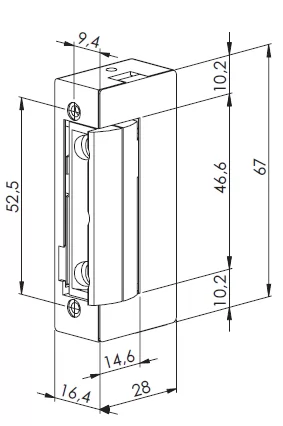
Универсальная узкопрофильная ЭМЗ, корпус симметричный (67х16,4х28мм),
открывается при подаче напряжения (12 V DC, 0,3А
38 Ом), допускается длительное электрическое
разблокирование. Механическая разблоктровка. Предел прочности 3100 Н
